Asset management with HART protocol
Asset management is a powerful tool that allows you to perform, among many actions, reading process variables, obtaining diagnostics, parameterizing and calibrating analog field instruments such as temperature, pressure, flow, valves, etc. With this tool, we can predict a future failure due to information stored in an asset`s history. This means that the maintenance team will act on the cause (predictive maintenance) and not only on the effect (corrective maintenance).
This is extremely important, as maintenance can be planned without stopping the subsystem, which will result in a significant drop in production losses due to maintenance hours. This management is possible through the use of equipment that supports the HART protocol.
HART profile over PROFIBUS for asset management
As can be seen in the post about what the HART protocol is and what it is for, the standard consists of an open protocol that was developed in the 1980s with the aim of enabling predictive maintenance and remote parameterization of analog process devices. This is possible through access to other information from the field instruments, in addition to the information on the main variable made available to the automation system.
PROFIBUS DP is a fieldbus standard that was defined in 1993 as a simpler variant with higher performance than PROFIBUS FMS. It is widely used in the automation market as a network in order to distribute the I/O (Input/Output, in Portuguese Inputs/Outputs) in the field so that the cabling for the sensors and actuators is smaller. In this way, the network can access remotes with input and output cards or intelligent devices (sensors and actuators) directly connected to the network. PROFIBUS-DP is a deterministic network.
The PROFIBUS DPV1 extension contains improvements aimed at automation processes, in particular acyclic data communications for parameterization, operation, visualization and interruption control of intelligent field devices, together with cyclic user communications. There is still the PROFIBUS DPV2 extension that incorporates other characteristics to the network. The extensions can be cumulative, that is, when we say that a certain device is DPV1 it can have DPV0 characteristics in addition to those of DPV1.
Acyclic data transmission runs in parallel with cyclic communication, but with lower priority. This allows online access to stations using engineering tools. The class 1 master, which mainly controls the process variables, has the token and performs cyclic data exchange with each slave and passes the token to the class 2 master. This master establishes acyclic communication with any slave, exchanges data and returns the token for the class 1 master. Class 1 masters also have the ability to exchange data in acyclical communications with the slaves.
Technologies for Asset Management
Asset management systems have been developed and are capable of basically using two technologies to describe assets:
- DTM (Device Type Manager), used by FDT (Field Device Technology) technology;
- EDDL (Electronic Device Description Language).
These two technologies work with the same concepts. In them, all devices connected to a network or topology with several networks must have a file that describes how it works. This file, or driver, can be a structured text in a known format, as is the case with DD in EDDL technology, or it can be a program extension (DLL) as in the case of DTM in FDT technology.
In both cases the file describes the data available, or commands supported, by a device and the way these connect to other elements of the topology. Today on the market there are asset management software that work with both technologies. It is up to the 4 device manufacturers to provide the descriptors so that their equipment can be connected to networks.
Architecture for Asset Management
In automation systems, the modules that act on the instruments to be controlled are located in racks close to the controlled plant. The racks, which are also known as Remotes, communicate with the control system through field network protocols, which allow a high transfer rate and allow other components to request information from various Remotes that may be present on the network. Additionally, they allow remote programming and configuration of the automation system.
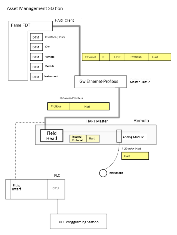
For asset management it is necessary to install the asset management software on a computer. But it is necessary that these computers can access the instruments to be managed. This can be done by directly connecting the instruments through a fieldbus or by using interconnection gateways between different networks.
With so many possibilities for interconnection between the controller computer and the instruments to be managed, a system architecture is proposed, which is shown in the figure below, where all the elements proposed for the system are represented. The PO5064 DPV1 field head and the PO1114 and PO2134 analog modules correspond to the “HART master”. The PO1114 input and PO2134 output modules are able to communicate with HART instruments through HART connections over 4 to 20 mA. What makes communication with HART instruments possible is the fact that the PO5064 field head implements the DPV1 extension of the PROFIBUS protocol, where the HART messages are encapsulated. The protocol conversion (PROFIBUS to HART) is done partly by the Head and partly by the analog modules.




